5NY52650XG28
Order No.: 5NY52650XG28
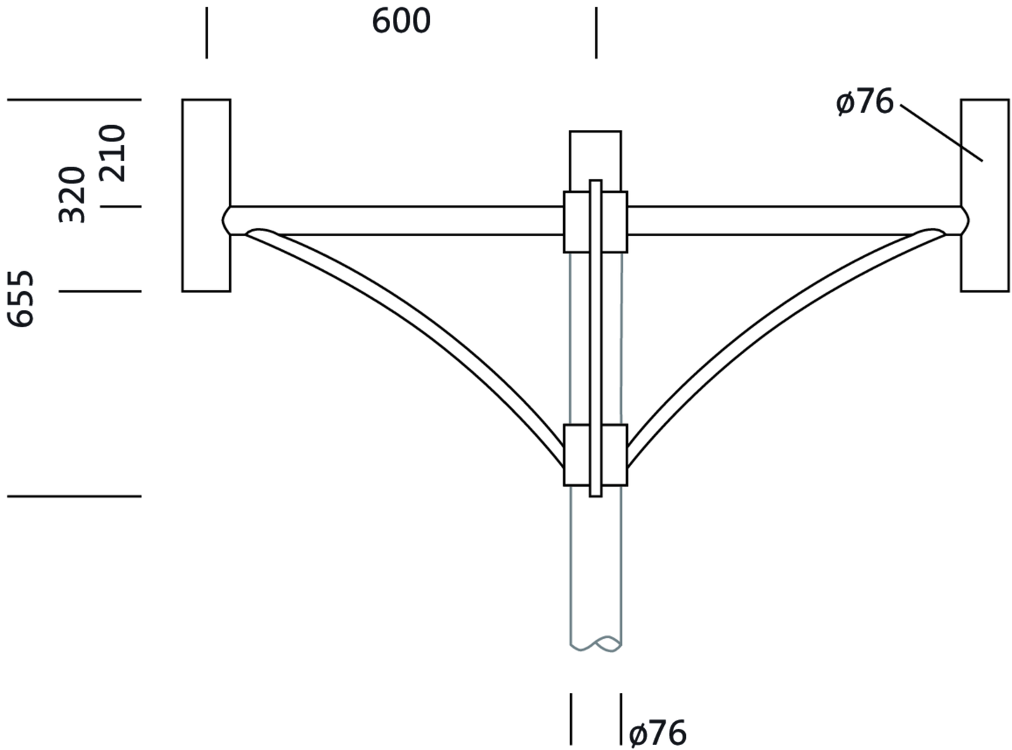
Article mast arm
Product name rocker
Weight 13.8kg
rocker, mast arm, design arm, of steel, galvanised and coated, SITECO metallic grey (DB 702S), 2-arm, with integrated mast termination, spigot size: 76mm (post-top), bracket dimensions: 600mm, packaging unit: 1 piece

